{{ v.name }}
{{ v.cls }}类
{{ v.price }} ¥{{ v.price }}
“微博”商标被驳回了?这微博产品还天天使用呢,被驳回商标还能发展成这样?不过莫慌!此微博非彼微博,这不是新浪微博而是腾讯微博。
如今一说起微博,大家理所当然就联想到新浪微博,但要知道几年前,还是新浪微博、腾讯微博、网易微博、搜狐微博四大微博割据的局面,而时至今日新浪微博“称霸”,这其中的转折还要从商标说起。

新浪微博的转折
2010年左右的那几年,正是各大微博激烈抢占市场的时候,要说这几个产品背靠的企业也都是响当当的大企业,尤其是腾讯位列BAT之一,怎么就让新浪微博摘下桂冠,难道就是因为新浪微博诞生于2009年,而其他家都是2010年推出的?
其实不然,这还得从新浪的独具慧眼说起。
当时四大微博的PK,大家都从产品角度入手,唯有新浪,在抓产品的同时,还兼顾商标和域名。根据商标网查询,新浪第一次申请“微博”商标于2009年8月26日,申请注册了16类、35类、38类和41类。

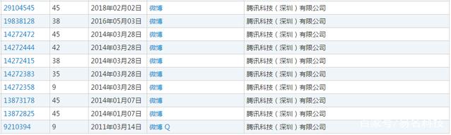
腾讯第一次申请“微博”商标于2014年1月7日,足足晚了近5年。而搜狐和网易甚至连“微博”商标都没申请注册。

除了商标,新浪也在域名方面动手。一开始,大家启用的是:腾讯微博(t.qq.com)、网易微博(t.163.com)、搜狐微博(t.sohu.com)、新浪微博(t.sina.com.cn),而从2009年开始,新浪接连花大价钱购买了weibo.com.cn、weibo.com、weibo.cn、t.cn。

这域名和商标双剑合璧,妥妥占足了优势。于是,当时有一个流行的段子:从前有几个卖面包的,一个叫浪浪牌面包,一个叫腾腾牌面包,一个叫搜搜牌面包,一个叫易易牌面包,各品牌竞争很激烈。突然有一天,浪浪牌面包改名了,其它几个品牌瞬间石化。原来它改叫面包牌面包了。
腾讯还在坚持
虽然在那之后,腾讯也申请了多件“微博”商标,但至今只有个别几件通过,其他统统被驳回。要知道从腾讯开始申请“微博”商标也快5年了,新浪也独占鳌头好些年,而腾讯还在坚持“微博”商标。
这不,这件“微博”商标,腾讯申请于2018年6月22日,在2018年12月5日被驳回,随后于2018年12月25日申请驳回复审,在近日,有了结果。

商评委认为,腾讯申请的商标,其中的中文部分与3个引证商标的显著文字均由“微博”构成,在整体含义上亦无明显区别,若同时使用在类似服务上易引起消费者的混淆、误认,已分别构成使用在类似服务上的近似商标。于是驳回了腾讯的注册申请。
而在域名方面,腾讯也并没有知难而退,当初腾讯微博曾与新浪微博共同申请新顶级域名“.weibo”、“.微博”,双方展开竞争,新浪向世界知识产权组织 (WIPO)提交2次申请,分别反对腾讯申请“.weibo”及“.微博”。
由于腾讯一贯的服务项目名称是“腾讯微博”,并非“微博”或“weibo”,且在一些国家或地区的注册商标,均是由“Tencent”(腾讯)与“微博“或“weibo”组合而成,加上官网域名为t.qq.com,以及其他因素的综合影响下,最终,WIPO判决上述2个新顶级域名归属于新浪,腾讯失败。
时至今日,微博、微信、QQ成为毋容置疑的社交三大巨头,各有不同侧重点,微博社交尤为开放,已然是个时代“弄潮儿”,娱乐、新闻、政策等资讯都能在平台上第一时间广泛传播,新的热点绝大多数也是起源于微博。
最后只能说,新浪实在聪明,在微博还没成为通用词汇之前,先占为己有,现如今已经具备了显著性。